
Device identification
Device: Shelly Wave Door/Window (EU)
EU Part number/Ordering Code: QLDW-002CEU
Z-Wave Product type ID: 0x0100
Z-Wave Product ID: 0x0081
Z-Wave Manufacturer: Shelly Europe
Z-Wave Manufacturer ID: 0x0460
This device supports both Z-Wave® (mesh) and Z-Wave® Long Range (star) network topologies. During the device inclusion process, you must select one type of network topology.
Bellow sections marked with * are valid only for Z-Wave® mesh network inclusion and are not applicable for Z-Wave® Long Range star network inclusion.
Terminology
Short description
The Device is a Z-Wave® sensor designed to detect the opening and closing of doors or windows. Beyond simple detection, it can also measure the angle of inclination for doors or windows that tilt or turn. Additionally, the sensor is equipped with a built-in light sensor, offering enhanced functionality for smart home automation.
Use cases
Climate control: Adjust the heating, ventilation, and air conditioning system based on current open/close door/window status to maintain a comfortable indoor environment.
Alerts and notifications: Receive alerts or notifications when the open/close status is changed and you are away.
Security enhancement: Increase your home protection by detecting unusual door/window that might indicate intrusion.
Appliance control: Adjust operation of thermostats and lights based on the current open/close status and illumination measurement.
Basic Functions
SmartStart
Assocciations
Door/window opening and closing detection
Door/window inclination angle measurement
Illumination measurement
OTA - Over-The-Air firmware update
Operational Instructions
Main applications
Residential
MDU (Multi Dwelling Units - apartments, condominiums, hotels, etc.)
Light commercial (small office buildings, small retail/restaurant/gas station, etc.)
Government/municipal
University college
Integrations
Shelly Wave devices are developed on the world's leading technology for smart homes – Z-Wave.
This means Shelly Wave works with all certified gateways supporting Z-Wave communication protocol.
To make sure the functions of Shelly Wave products are supported on your gateway, we are regularly executing compatibility tests of our devices with different Z-Wave gateways.
Connectivity
Z-Wave - Unsecure, S0 Security, S2 Unauthenticated Security, S2 Authenticated Security
User interface
S button and operating modes
Single press (<0,5s):
Device wake up
Device not included, Blue led blink once
Device included, Green led blink once if GW respond with "Wake Up No More Information"
Device included, Green led blinks for 10s if GW doesn’t respond with "Wake Up No More Information"
Settings mode:
Is required to start the desired procedure, for example: adding (inclusion (*not available for Long Range)), removing (exclusion), factory reset, etc. It has a limited operating time. After completing the procedure in Setting mode, the Device automatically switches to Normal mode.
Entering Setting mode:
Press the S button (>0,5s)
Device NOT included: LED is solid blue.
Device included: LED is solid green for 0,5s then blue
An additional quick press on the S button changes the menu in an infinite loop.
The Settings mode has a timeout of 10s before entering again into Normal mode.
S button’s functions
Manually adding the Device to a Z-Wave network (*not available for Long Range inclusion)
Manually removing the Device from a Z-Wave network
Factory Reset the Device
Wake-up
LED Signalisation
LED blinking modes
Technical Specifications
Power supply |
1x 3 V CR2032 battery (included) |
|
Battery life |
Up to 2 years |
|
Reed switch |
Yes |
|
G-sensor |
Yes |
|
Light sensor |
Yes |
|
Long range network |
Distance (depends on local condition) |
Up to 80 m indoors (262 ft.) or up to 1000 m outdoors (3281 ft.) |
Z-Wave® repeater |
No |
|
Z-Wave® frequency bands |
864 MHz |
|
Mesh network |
Distance (depends on local condition) |
Up to 40 m indoors (131 ft.) |
Z-Wave® repeater |
No |
|
Z-Wave® frequency bands |
868.4 MHz |
|
CPU |
Z-Wave® S800 |
|
Maximum radio frequency power transmitted in frequency band(s) |
< 25 mW |
|
Size (H x W x D) |
|
|
Weight |
|
|
Shell material |
Plastic |
|
Color |
White, black, brown |
|
Ambient temperature |
-20°C to 40°C / -5°F to 105°F |
|
Humidity |
30% to 70% RH |
|
Max. altitude |
N/A |
|
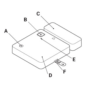
Wave Door/Window description

Fig.1
Legend
A: Light sensor
B: S button
C: Magnet
D: Sensor unit
E: LED indication
F: Battery protective foil
Fig.2 |
Fig.3 |
Fig.4 |
Fig.5 |
Fig.6 |
Fig.7 |
First steps
The Device comes ready to use with the battery installed. Before usage of the Device, remove the protective foil from the battery compartment to activate the battery. However, if pressing its button does not make the Device start emitting signals, you might need to insert a battery. See the Replacing the battery section.
Mounting
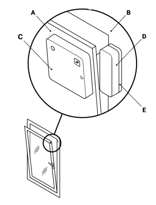
⚠ATTENTION! When mounting the Device make sure the small triangle on the sensor unit points towards the magnet as shown in Fig. 2 and the distance between the sensor unit and the magnet is less than 10 mm / 0.4 in when the door or the window is closed.
You can place the magnet left, right, above, or below the sensor unit. If you want to monitor a door or window that tilts and turns, mount the sensor unit (C) on the door or the window (A) and the magnet (D) on the frame (B) as shown in Fig. 3. Use the supplied double-sided foam stickers to affix the sensor unit and the magnet to the door or the window and the frame. Depending on the door or window frame, you may need to align the magnet and sensor unit by raising one of them using shims (E). If you want to monitor a conventional door or window, we suggest, if possible, mounting the sensor unit on the frame and the magnet on the door or the window.
Replacing the battery
Open the back cover as shown in Fig. 4.
Extract the exhausted battery by first pushing it through the battery holder cutout and then pulling it out as shown in Fig. 5.
Slide in a new battery as shown in Fig. 6
Replace the back cover by pressing it to the sensor unit at the four angles until you hear a clicking sound as shown in Fig. 7.
About Z-Wave®
Adding and removing the Device to a Z-Wave® network
Z-Wave® Security and Device Specific Key (DSK)
Z-Wave® Parameters
Z-Wave® Command Classes
Z-Wave® Notifications Command Class
Z-Wave® Associations
Disclaimers and Warnings
READ BEFORE USE
This document contains important technical and safety information about the Device, its safe use and installation.
Z-Wave® Important disclaimer
Z-wave® wireless communication may not always be 100% reliable. This Device should not be used in situations in which life and/or valuables are solely dependent on its functioning. If the Device is not recognized by your gateway or appears incorrectly, you may need to change the Device type manually and ensure that your gateway supports Z-wave Plus® multi-channel devices and Z-wave® Long Range capability in case of Long Range devices.
Compatibility
Wave Door/ Window |
functions - reports |
|||
Gateway |
Sensor 1 |
Sensor 2 |
Sensor 3 |
Notes |
Home Assistant |
|
|
||
Fibaro - HC 3 / Wave engine 3 |
|
|
|
|
Homey |
|
|
|
|
Homee Gen 7 |
|
|
|
|
Homee Gen 5 |
❌ |
❌ |
❌ |
|
Smart Things |
|
❌ |
❌ |
|
Vera Ezlo |
TBD |
TBD |
TBD |
|
Cozify |
TBD |
TBD |
TBD |
|
Notes |
Sensor 1: Open / Close |
|||
Function |
Meaning / tested |
|---|---|
On/Off |
if device respond to the app UI On/Off command |
SW On/Off |
if device reports On/Off changes by SW input |
Dimming |
if device respond to app UI dimming command |
SW Dimming |
if device report dimming state change by SW input |
Watts |
if Watts are reported (unsolicited) |
kWh |
if kWh are reported (unsolicited) |
Up/Down |
if device respond to the app UI Up/Down command |
SW Up/Down |
if device reports Up/Down changes by SW input |
Slats |
if the slats respond to the app UI command |
SW Slats |
if the slats report the changes done by SW |
D control |
detached mode if device reports scene commands single press, double press,… |
D Binary |
detached mode if the device reports binary On/Off by SW input |
Sensor # |
Is the sensor report visualized in the gateway, type of sensor in the notes. |
Legend | ||||
Symbol |
State |
|||
|
Working / Possible |
|||
❌ |
Not Working / Not Possible |
|||
P |
Partially |
|||
N/T |
Not Tested |
|||
TBD |
To be done |
|||
Compliance
Shelly Wave Door_Window multilingual EU declaration of conformity 2025-11-07.pdf
Shelly wave Door-Window UK PSTI ACT Statement of compliance.pdf
Declaration of Conformity
Hereby, Shelly Europe Ltd. declares that the radio equipment type Shelly Wave Door/Window is in compliance with Directive 2014/53/ EU, 2014/35/EU, 2014/30/EU, 2011/65/EU. The full text of the EU declaration of conformity is available at the following internet address: https://shelly.link/ShellyWaveDoor/Window_LR-DoC


Disposal & Recycling

Do not dispose of the product in household waste. Recycle the product to prevent environmental and health damage and to promote resource conservation. Dispose of the product at an appropriate waste collection point at your own responsibility.
Resellers, from which the Device was purchased are required to accept Waste Electrical and Electronic Equipment (WEEE) free of charge for proper disposal.
Some electronic products may store personal data. The user is responsible for deleting this data before disposing of the Device. For deletion reset the Device to its factory settings.
Printed User Guide
WEB links
Troubleshooting
Gateway guides
You may find useful guides on gateways in the Z-Wave Z-Wave Gateways
Firmware
Latest firmware updates:
Stay Updated with the Firmware Releases for Shelly Wave Devices
all firmware updates:
GitHub - Shelly Wave FW OTA files
Integration
All shelly devices:
Discover Compatible Gateways for our Devices
Webpages
Product page
Manufacturer
Shelly Europe Ltd.
Address: Shelly Europe ltd, 51 Cherni Vrah Blvd., building 3, floor 2 and 3, Lozenetz Region, Sofia 1407, Republic of Bulgaria
Tel.: +359 2 988 7435
E-mail: zwave-shelly@shelly.cloud
Support: https://support.shelly.cloud/
Changes in the contact data are published by the Manufacturer at the official website: https://www.shelly.com
Legal Notice
This User Guide is subject to change and improvement without notice. Shelly Wave reserves all rights to revise and update all documentation without any obligation to notify any individual or entity.













