
Device identification
Device name: Shelly Plus PM Mini
Device model: SNPM-001PCEU16
Device SSID: ShellyPMMini-XXXXXX
Short description
Shelly Plus PM Mini (The Device) is a small form factor power meter. Enhanced with all the gen2 firmware flexibility, it provides professional integrators with additional options for end-customer solutions. It can work standalone in a local Wi-Fi network, or it can also be operated through cloud home automation services through MQTT, HTTP, and WebSocket. All inbound connections support TLS.
Shelly Plus PM Mini can be accessed, set up, and monitored remotely by the User, as well as the Device can access and communicate with an automation system, as long as they are in the same network infrastructure.
The Device has an embedded Web Interface which can be used to monitor and control the device, as well as adjust its settings.
⚠NOTICE! The Device does not have a built-in relay.
Main applications
Residential
MDU (Multi Dwelling Units - apartments, condominiums, hotels, etc.)
Light commercial (small office buildings, small retail/restaurant/gas station, etc.)
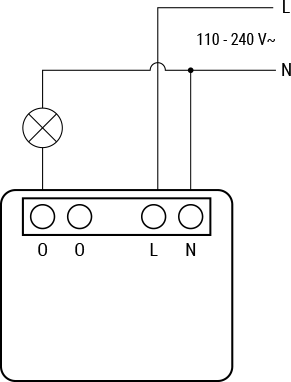
Simplified internal schematics

Device electrical interfaces
Inputs
2 line inputs on screw terminals: 1 L and 1 N
Outputs
2 load circuit outputs (bridged internally): 2 O
Connectivity
Wi-Fi
Bluetooth (for inclusion purposes)
Each connectivity option can be enabled or disabled by the user.
Safety features
Internal temperature sensing and reporting
Supported load types
Resistive (incandescent bulbs, heating devices)
Capacitive (LED light drivers, capacitor banks, electronic equipment, motor start capacitors)
Inductive (transformers, fans, refrigerators, air-conditioners)
User interface
Inputs
-
One (Reset) button
Press and hold for 5 seconds to enable Device access point and Bluetooth connection.
Press and hold for 10 seconds to factory reset the Device.
Outputs
-
LED (monocolor) indication
AP (Access Point) enabled and Wi-Fi disabled:
1 secondON/ 1 secondOFFWi-Fi enabled, but not connected to a Wi-Fi network:
1 secondON/ 3 secondsOFFConnected to a Wi-Fi network:
ConstantlyONCloud is enabled, but not connected:
1 secondON/5 secondsOFFConnected to Shelly Cloud:
ConstantlyONOTA (Over the Air Update):
½ secON/ ½ secondOFFButton pressed and held for 5 seconds:
½ secondON/ ½ secondOFFButton pressed and held for 10 seconds:
¼ secondON/ ¼ secondOFF
The list above starts with the initial device status and the lowest priority. Every next state cancels the previous one.
Specifications
Type |
Value |
|---|---|
Physical | |
Size (HxWxD): |
29x35x16 ±0.5 mm / 1.11x1.35x0.63 ±0.02 in |
Weight: |
13 ±1 g / 0.46 ±0.04 oz |
Mounting: |
Wall box |
Screw terminals max torque: |
0.4 Nm / 3.5 lbin |
Conductor cross section: |
0.5 to 1.5 mm² / 20 to 16 AWG |
Conductor stripped length: |
5 to 6 mm / 0.20 to 0.24 in |
Shell material: |
Plastic |
Color: |
Light gray |
Environmental | |
Ambient temperature: |
-20 °C to 40 °C / -5 °F to 105 °F |
Humidity |
30 % to 70 % RH |
Max. altitude |
2000 m / 6562 ft |
Electrical | |
Power supply: |
110 - 240 VAC |
External protection: |
16 A, tripping characteristic B or C, |
Power consumption: |
<1.2 W |
Output circuits ratings | |
Max measurement voltage: |
240 VAC |
Max measurement current: |
16 A |
Max measurement power: |
3840 W |
Power measurement: |
Yes |
Voltage protection / Cutoff: |
No |
Current protection / Cutoff: |
No |
Max power protection / Cutoff: |
No |
Radio | |
RF band: |
2400 - 2495 MHz |
Max. RF power: |
<20 dBm |
Wi-Fi protocol: |
802.11 b/g/n |
Wi-Fi Range: |
Up to 30 m / 100 ft indoors and 50 m / 160 ft outdoors |
Bluetooth Protocol: |
4.2 |
Bluetooth Range: |
Up to 10 m / 33 ft indoors and 30 m / 100 ft outdoors |
MCU | |
CPU: |
ESP32 |
Flash: |
4 MB |
Firmware capabilities | |
Webhooks (URL actions): |
20 with 5 URLs per hook |
Scripting: |
Yes |
MQTT: |
Yes |
UDP: |
Yes |
Scripting: |
Yes |
Basic wiring diagrams

Legend
Terminals |
Wires |
||
|---|---|---|---|
O |
Load circuit output terminals (bridged internally) |
L |
Live (110-240 V) wire |
L |
Live (110-240 V) terminal |
N |
Neutral wire |
N |
Neutral terminal |
||
Troubleshooting
Your device is overheating.
Make sure the ambient temperature does not exceed 40 °C / 105 °F. If placed in confined space Shelly Plus PM Mini may increase the ambient temperature above the allowed limits. Ensure ventilation of the Device.
Web Interface guide
Read the Shelly Plus PM Mini web interface guide