
Device identification
Device name: Shelly Plus 1
Device model: SNSW-001X16EU
Device SSID: ShellyPlus1-XXXXXX
Short description
Shelly Plus 1 is a small form factor smart switch with potential-free contacts, which allows remote control of electric appliances through a mobile phone, tablet, PC, or home automation system. It can work standalone in a local Wi-Fi network or it can also be operated through cloud home automation services.
Shelly Plus 1 can be accessed, controlled and monitored remotely from any place where the User has internet connectivity, as long as the device is connected to a Wi-Fi router and the Internet.
It can be retrofitted into standard electrical wall boxes, behind power sockets and light switches or other places with limited space.
Shelly Plus 1 has embedded Web Interface which can be used to monitor and control the device, as well as adjust its settings.
Main applications
Residential
MDU (Multi Dwelling Units - apartments, condominiums, hotels, etc.)
Light commercial (small office buildings, small retail/restaurant/gas station, etc.)
Government/municipal
University/college
Integrations
Google
Samsung SmartThings
Alexa
Simplified internal schematics

Device electrical interfaces
Inputs
1 switch/button input on screw terminal: SW
1 potential-free contacts relay input on screw terminal: I
3 power supply inputs on screw terminals: N (+), L (Ʇ) and 12V
Outputs
1 potential-free contacts relay output on screw terminal: O
Add-on interface
Shelly proprietary serial interface

⚠CAUTION! High voltage on the add-on interface when the Device is powered!
Connectivity
Wi-Fi
Bluetooth
Safety features
Overheating protection
Supported load types
Resistive (incandescent bulbs, heating devices)
Capacitive (capacitor banks, electronic equipment, motor start capacitors)
Inductive with RC Snubber (LED light drivers, transformers, fans, refrigerators, air-conditioners)
User interface
Inputs
One (control) button
Press and hold for 5 seconds to enable Device access point and Bluetooth connection.
Press and hold for 10 seconds to factory reset the Device.
Outputs
LED (red) indication
The list above starts with the initial device status and the lowest priority. Every next state cancels the previous one.
Specifications
Type |
Value |
|---|---|
Physical | |
Size (HxWxD): |
37x42x16 ±0.5 mm / 1.46x1.65x0.63 ±0.02 in |
Weight: |
26 g / 0.92 oz |
Mounting: |
Wall console |
Screw terminals max torque: |
0.4 Nm / 3.5 lbin |
Conductor cross section: |
0.5 to 1.5 mm² / 20 to 16 AWG |
Conductor stripped length: |
5 to 6 mm / 0.20 to 0.24 in |
Shell material: |
Plastic |
Color: |
Blue |
Environmental | |
Ambient temperature: |
-20 °C to 40 °C / -5 °F to 105 °F |
Humidity |
30 % to 70 % RH |
Max. altitude |
2000 m / 6562 ft |
Electrical | |
Power supply: |
110 - 240 VAC / 24 - 48 VDC / 12 VDC ±10% |
Power consumption: |
< 1.2 W |
Output circuits ratings | |
Max switching voltage AC: |
240 V |
Max switching voltage DC: |
30 V |
Max switching current AC: |
16 A |
Max switching current DC: |
10 A |
Sensors, meters | |
Internal-temperature sensor: |
Yes |
Radio | |
RF band: |
2400 - 2495 MHz |
Max. RF power: |
<20 dBm |
Wi-Fi protocol: |
802.11 b/g/n |
Wi-Fi Range: |
Up to 30 m / 100 ft indoors and 50 m / 160 ft outdoors |
Bluetooth Protocol: |
4.2 |
Bluetooth Range: |
Up to 10 m / 33 ft indoors and 30 m / 100 ft outdoors |
MCU | |
CPU: |
ESP32-U4WDH |
Flash: |
4 MB |
Firmware capabilities | |
Schedules: |
20 |
Webhooks (URL actions): |
20 with 5 URLs per hook |
Scripting: |
Yes |
MQTT: |
Yes |
CoAP: |
No |
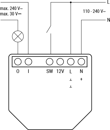
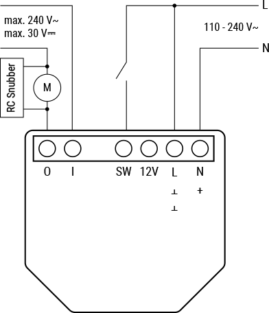
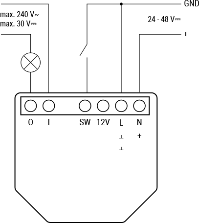
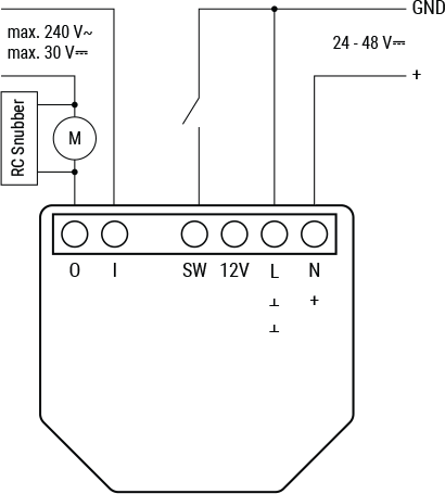
Basic wiring diagrams
![]() 110-240 VAC power supply Resistive load |
![]() 110-240 VAC power supply Inductive load and RC snubber |
![]() 24-48 VDC power supply Resistive load |
![]() 24-48 VDC power supply Inductive load and RC snubber |
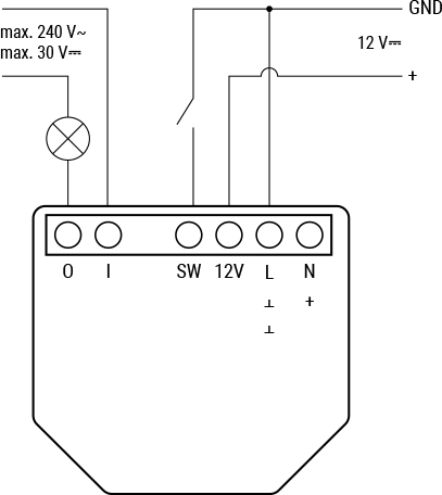
![]() 12 VDC stabilized power supply Resistive load |
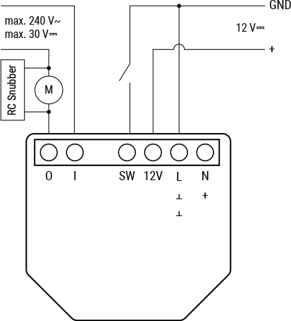
![]() 12 VDC stabilized power supply Inductive load and RC snubber |
Legend
Terminals |
Wires |
||
|---|---|---|---|
I |
Load circuit input terminal |
L |
Live (110 - 240 VAC) wire |
O |
Load circuit output terminal |
N |
Neutral wire |
SW |
Switch (controlling O) input terminal |
+ |
12 / 24 - 48 VDC positive wire |
+12V |
12 VDC positive terminal |
GND |
12 / 24 - 48 VDC ground wire |
L |
Live (110-240 VAC) terminal |
||
N |
Neutral terminal |
|
|
+ |
24 - 48 VDC positive terminal |
|
|
Ʇ |
12 / 24 - 48 VDC ground terminal |
Troubleshooting
...
Web Interface guide
Read the Shelly Plus 1 web interface guide












