Shelly 1 Gen4

Device identification
Device name: Shelly 1 Gen4
Device model: S4SW-001X16EU
Device SSID: Shelly1G4-XXXXXXXXXXXX
Device Bluetooth ID: 0x1028
Short description
Shelly 1 Gen4 is a small form factor smart switch with potential-free contacts, which allows remote control of electric appliances through a mobile phone, tablet, PC, or home automation system. It can work standalone in a local Wi-Fi network or it can also be operated through cloud home automation services.
Shelly 1 Gen4 can be accessed, controlled and monitored remotely from any place where the User has internet connectivity, as long as the device is connected to a Wi-Fi router and the Internet.
It can be retrofitted into standard electrical wall boxes, behind power sockets and light switches or other places with limited space.
Shelly 1 Gen4 has embedded Web Interface, which can be used to monitor and control the device, as well as adjust its settings.
The device has multi-protocol wireless MCU which provides Zigbee and Bluetooth connectivity, ensuring a secure connection.
This device is compatible with Matter.
Main features
Wi-Fi Connectivity: The device can connect to your home Wi-Fi network, allowing you to remotely monitor humidity and temperature data through a smartphone app or other compatible devices.
Integration with Smart Home Platforms: You can integrate the Shelly 1 Gen4 with popular smart home platforms, including Google, Alexa, and Samsung SmartThings. This enables voice control and automation capabilities through these platforms.
Local and Cloud Control: Can function independently in a local Wi-Fi network and can also be operated through cloud home automation services.
Bluetooth Connectivity: Bluetooth and BLE gateways are available for inclusion purposes, which may be useful during the setup process.
Zigbee Connectivity: Zigbee is available for inclusion purposes, which may be useful during the setup process.
User-Friendly Interface: The device provides a user-friendly interface with a reset button for manual interactions.
Improved Processor: Upgraded with an improved processor and support for Zigbee connectivity.
Embedded Web Interface: Features an embedded web interface for monitoring, control, and adjustment of settings.
Wireless Connectivity: The device supports Wi-Fi (802.11 b/g/n/ax) and Bluetooth 5.0 protocols with specified indoor and outdoor range capabilities.
Dry Contact: Allows switching on and off of lower voltage devices.
BLE Gateway: Bridge between your Shelly BLU devices and the wider Shelly ecosystem. It receives Bluetooth signals and sends them to the cloud or locally to another non-Bluetooth device.
Wi-Fi Range extender for IoT devices: A Wi-Fi extender is employed to expand the reach of your Wi-Fi network by receiving your current Wi-Fi signal, enhancing its strength, and then transmitting the enhanced signal over a wider area.
Zigbee Range extender for IoT devices: A Zigbee extender is employed to expand the reach of your Zigbee network by receiving your Zigbee signal, enhancing its strength, and then transmitting the enhanced signal over a wider area.
Scripting: https://shelly-api-docs.shelly.cloud/gen2/Scripts/ShellyScriptLanguageFeatures/
Wide range of integrations: The device can be integrated with 3rd party home systems, documented HTTP API, MQTT(s), Web Hooks over HTTP and HTTPS, UDP
Schedules: Allows scheduling of complex operations to be executed in predefined time window. Users can specify time windows based on date, time of day, weekdays, hours, minutes and seconds.
Virtual Components: https://shelly-api-docs.shelly.cloud/gen2/DynamicComponents/Virtual/
KNX net/IP support: https://shelly-api-docs.shelly.cloud/gen2/Integrations/KNX/
Use cases
Remote Appliance Control: Turn on or off electric appliances remotely using your mobile phone, tablet, PC, or home automation system.
Internet-Connected Convenience: Access аnd control devices from anywhere with internet connectivity, as long as the Shelly 1 Gen4 is connected to a Wi-Fi router.
Home Automation: Shelly 1 Gen4 enables automatic control of power appliances for more relaxing and enjoyable experience.
Home Automation Use Cases
Light Control
Remote control of standard lights (LED, incandescent, halogen).
Set timers or schedules for lights (e.g., porch lights on at sunset).
Use with motion sensors (for example Shelly BLU Motion) for occupancy-based lighting.
Garage Door Automation
Act as a smart trigger to open/close garage doors.
Monitor door status with a sensor input i.e using Shelly Plus Add-on.
Integrate with voice assistants for hands-free control.
Fan or Ventilation Control
Automate bathroom or kitchen fans based on humidity sensors (like Shelly BLU H&T).
Turn on ventilation during specific times of day or based on occupancy.
Heater or Towel Rail Switching
Control electric towel warmers or heaters (Max. switching current: 16A).
Schedule operation or link to temperature thresholds via sensors (like Shelly BLU H&T).
Commercial Applications
Lighting Automation in Small Offices or Shops
Control light zones based on business hours.
Use with motion detectors (for example Shelly BLU Motion) for energy savings.
Meeting Room Occupancy
Enable or disable equipment like projectors depending on occupancy.
Security and Access Systems
Remotely unlock gates or doors for deliveries.
Monitor open/close state of access points.
Industrial/Utility Use Cases
Equipment Monitoring & Control
Power cycling routers, modems, or network switches.
Pump or Motor Control
Automate irrigation pumps in greenhouses or fields (Max. switching current: 16A).
Remotely control or valves (i.e. Shelly Add-On Mechanical Manipulator).
Main applications
Residential
MDU (Multi Dwelling Units - apartments, condominiums, hotels, etc.)
Light commercial (small office buildings, small retail/restaurant/gas station, etc.)
Government/municipal
University/college
Integrations
Amazon Alexa supported capabilities
Yes
Google Smart Home supported traits
Yes
Samsung SmartThings supported capabilities
Yes
Simplified internal schematics

Device electrical interfaces
Inputs
1 switch/button input on screw terminal
1 potential-free contacts relay input on screw terminal
2 power supply inputs on screw terminals: N and L
Outputs
1 potential-free contacts relay output on screw terminal
Connectivity
Wi-Fi
Bluetooth
Zigbee
Safety function
Overheating protection
Supported load types
Resistive (incandescent bulbs, heating appliances)
Capacitive (capacitor banks, electronic equipment, motor starting capacitors)
Inductive with RC Snubber (LED light drivers, transformers, fans, refrigerators, air-conditioners, washing machines, tumble dryers)
User interface
Inputs
-
One (Control) button
Press and hold for 5 seconds to enable Device access point and Bluetooth connection.
Press and hold for 10 seconds to factory reset the Device.
Press the button 5 times to switch the Device from Matter (default) to Zigbee profile. The Device enters inclusion mode for 3 minutes. Include the Device following the instructions of your Zigbee home automation system.
Press the button 3 times to restart the inclusion mode for another 3 minutes if you missed the previous 3-minute window.
Outputs
-
LED (monocolor) indication
AP (Access Point) enabled and Wi-Fi disabled:
1 secondON/ 1 secondOFFWi-Fi enabled, but not connected to a Wi-Fi network:
1 secondON/ 3 secondsOFFConnected to a Wi-Fi network:
ConstantlyONCloud is enabled, but not connected:
1 secondON/5 secondsOFFConnected to Shelly Cloud:
ConstantlyONOTA (Over the Air Update):
½ secON/ ½ secondOFFButton pressed and held for 5 seconds:
½ secondON/ ½ secondOFFButton presses and held for 10 seconds:
¼ secondON/ ¼ secondOFF
The list above starts with the initial device status and the lowest priority. Every next state cancels the previous one.
Specifications
Quantity |
Value |
|---|---|
Physical | |
Size (HxWxD): |
37x42x16 mm / 1.46x1.65x0.63 inch |
Weight: |
26 g / 0.92 oz |
Screw terminals max torque: |
0.4 Nm / 3.5 lbin |
Conductor cross section: |
0.2 to 2.5 mm² / 24 to 14 AWG (solid, stranded, and bootlace ferrules) |
Conductor stripped length: |
6 to 7 mm / 0.24 to 0.28 in |
Mounting: |
Wall console |
Shell material: |
Plastic |
Shell color: |
Blue |
Terminals color: |
Grey |
Environmental | |
Ambient working temperature: |
-20 °C to 40 °C / -5 °F to 105 °F |
Humidity: |
30 % to 70 % RH |
Max. altitude: |
2000 m / 6562 ft |
Electrical | |
Power supply: |
|
Power consumption: |
< 1 W |
Neutral not needed: |
No |
External protection: |
Cable protection switch in accordance with EN60898-1 (tripping characteristic B or C, max. 16 A rated current, min. 6 kA interrupting rating, energy limiting class 3) |
Output circuits ratings | |
Max. switching voltage: |
|
Max. switching current: |
|
Sensors, meters | |
Internal-temperature sensor: |
Yes |
Radio | |
Wi-Fi | |
Protocol: |
802.11 b/g/n/ax |
RF band: |
2412 - 2472 МHz |
Max. RF power: |
< 20 dBm |
Range: |
Up to 30 m / 100 ft indoors and 50 m / 160 ft outdoors |
Bluetooth | |
Protocol: |
5 |
RF band: |
2402 - 2480 MHz |
Max. RF power: |
< 4 dBm |
Range: |
Up to 10 m / 33 ft indoors and 30 m / 100 ft outdoors |
Zigbee | |
Protocol: |
802.15.4 |
Zigbee repeater: |
Yes |
RF bands: |
2400 to 2483.5 MHz |
Max. RF power: |
< 20 dBm |
Range: |
Up to 100 m / 328 ft indoors and 300 meters / 984 ft outdoors |
Microcontroller unit | |
CPU: |
ESP-Shelly-C68F |
Flash: |
8MB |
Firmware capabilities | |
Schedules: |
20 |
Webhooks (URL actions): |
20 with 5 URLs per hook |
Scripting: |
Yes |
MQTT: |
Yes |
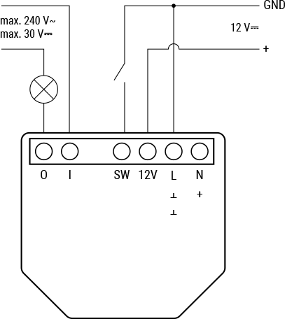
Basic wiring diagrams
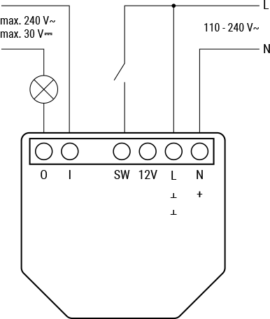
![]() 110-240 V~ power supply |
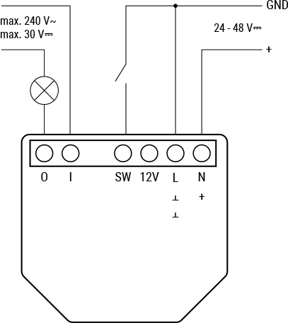
![]() 24-48 V⎓ power supply |
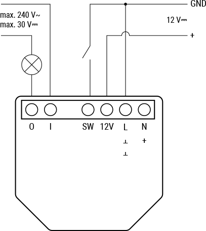
![]() 12 V⎓ stabilized power supply |
Legend
Terminals |
Wires |
||
|---|---|---|---|
I |
Load circuit input terminal |
L |
Live wire (110-240 V~) |
O |
Load circuit output terminal |
N |
Neutral wire |
SW |
Switch (controlling O) input terminal |
+ |
12/24-48V ⎓ positive wire |
+12V |
12 V⎓ positive terminal |
GND |
12/24-48V⎓ ground wire |
L |
Live terminal (110-240 V~) |
||
N |
Neutral terminal |
|
|
+ |
24-48 V⎓ positive terminal |
|
|
Ʇ |
12/24-48V⎓ ground terminal |
Shelly Smart Control
Shelly Web user interface
Components and APIs
Compliance
Shelly 1 Gen4 multilingual EU declaration of conformity 2025-07-25.pdf
Shelly 1 Gen4 UK PSTI ACT Statement of compliance.pdf
Printed user guide
Shelly 1 Gen4 multilingual printed user and safety guide.pdf


