CT 400A

Device identification
Device name: CT 400A
Manufacturer model: CT315
Short description
CT 400A (The Device) is a split-core current transformer for the Shelly Pro 3EM-400 energy meter.
Features
Snap-on, screwless mounting system
Main application
For use with Shelly Pro 3EM-400
Connector to Shelly Pro 3EM-400
2-pin MX3.0-2x1Y connector
Specifications
Type |
Value |
|---|---|
Physical | |
Size (HxWxD): |
84x54x48 ±0.5 mm / 3.31x2.13x1.89 ±0.02 in (without the cable) |
Weight: |
290 ±1 g / 10.23 ±0.05 oz (with the cable) |
Conductor aperture: |
Ø35 mm / 1.38 in |
Core: |
Ferite |
Shell material: |
Plastic |
Color: |
White |
Environmental | |
Ambient temperature: |
-10 °C to 50 °C / 14 °F to 122 °F |
Humidity: |
0 % to 80 % RH |
Max. altitude: |
2000 m / 6562 ft |
Electrical | |
Primary/secondary current ration: |
3000/1 |
Rated max. primary current: |
400 A |
Electrical strength: |
3000 VAC, 60 sec |
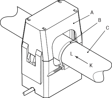
Installation

Legend
A |
Shelly CT400A |
B |
Cable tie (another one on the opposite side) |
C |
Primary conductor |
Compliance
Declaration of conformity